Запчасти гидравлического насоса Caterpillar 320B L 123-2233
Артикул:
1dee97a704ca
Скидки
При покупке от 100000 руб скидка 5 %
Код_купона_5
Цена по запросу
16
Люди смотрят этот продукт сейчас!
Способы оплаты:
Описание
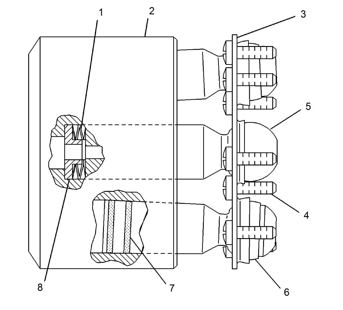
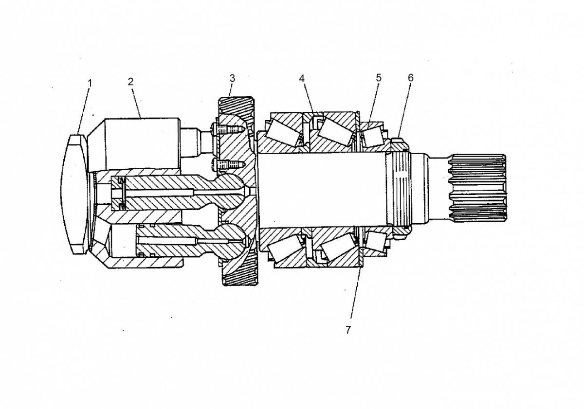
| 1 |
НАСОС ГП-ГЛАВНЫЙ ГИДРАВЛИЧЕСКИЙ(600273) |
| 2 | ГОЛОВНОЙ ГП-НАСОС |
| 3 |
ВИНТ С ГОЛОВКОЙ(92484) |
| 4 | ОБЛОЖКА(84540) |
| 5 |
О-КОЛЬЦО(30874) |
| 99 | НАБОР ПРОКЛАДОК(187983) |
Детали
| Виды услуг | |
|---|---|
| Виды оборудования |
Отзывы
Так же рекомендуем
Гидромотор 210.12.00 (шлицевой вал, реверс) аксиально-поршневой
Оценка 0 из 5
В наличии
Цена по запросу
Гидронасос 310.12.03 (шлицевой вал, правое вращение) аксиально-поршневой
Оценка 0 из 5
В наличии
Цена по запросу














































