Запчасти гидравлического насоса Caterpillar 320 114-0602
Скидки
При покупке от 100000 руб скидка 5 %
Код_купона_5
Цена по запросу
Способы оплаты:
Описание
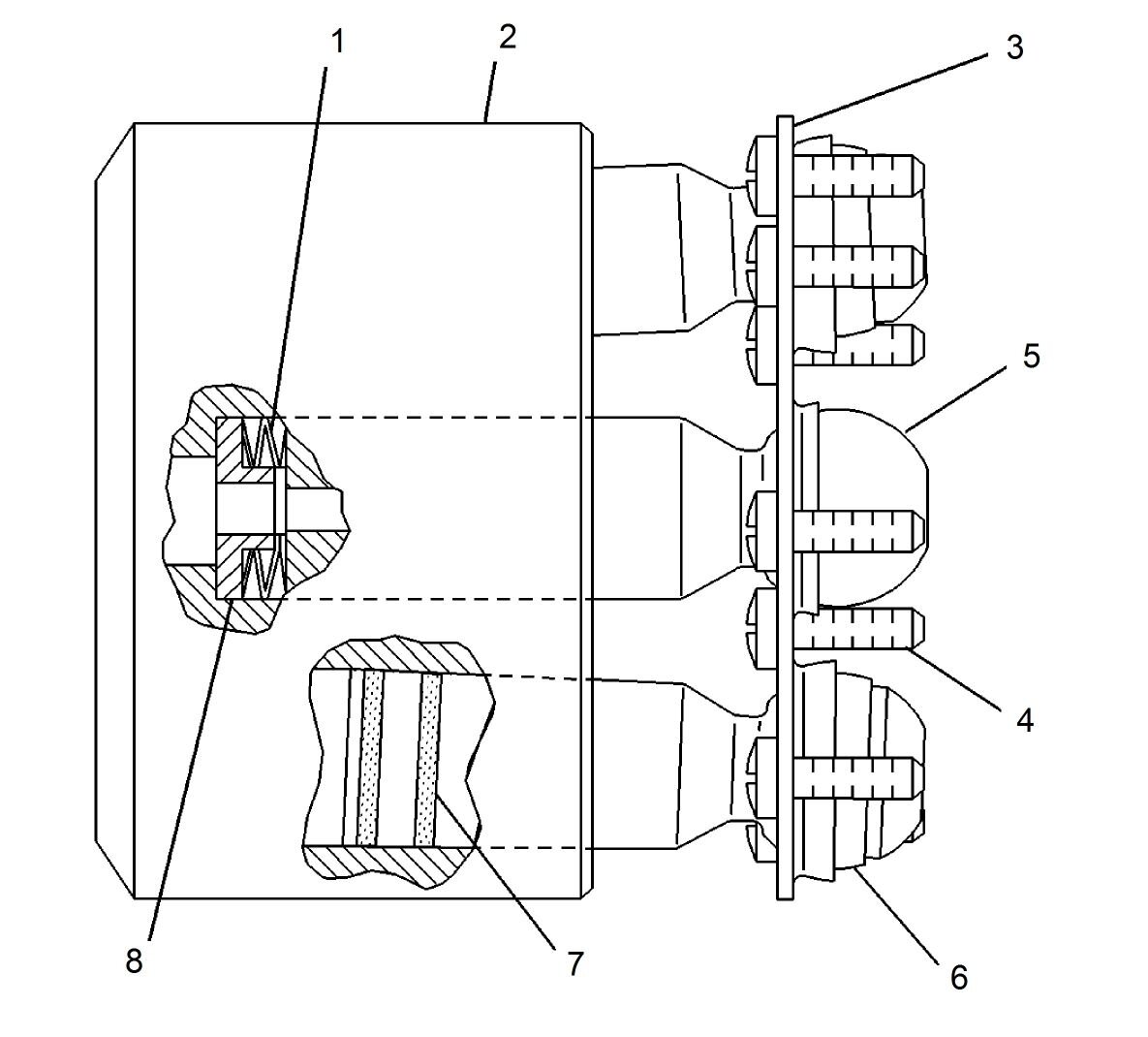
| 1 |
ГОЛОВНОЙ КОНТРОЛЬ НАСОСА GP-PUMP(601582) |
| 2 |
НАСОС ГП-ГИДРАВЛИЧЕСКИЙ(601583) |
| 3 |
ВИНТ С ГОЛОВКОЙ(92484) |
| 4 |
ОБЛОЖКА(84540) кожух |
| 5 |
О-КОЛЬЦО(30874) уплотнительное кольцо |
| 1 |
ГОЛОВНОЙ КОНТРОЛЬ НАСОСА GP-PUMP |
| 2 |
КОНТРОЛЬНЫЙ ДОМ(88559) кожух |
| 3 |
ПРОКЛАДКА(73380) |
| 4 |
ВЕСНА ДАВЛЕНИЯ(86175) прижимная пружина |
| 5 |
PIN-КОД ЦИЛИНДРА(239551) цилиндрический штифт |
| 6 |
ПОЗИЦИОНИРОВАНИЕ ТРУННИОН(86689) цапфа |
| 7 |
ЗАПАСНОЕ КОЛЬЦО(68463) |
| 8 |
О-КОЛЬЦО(93101) уплотнительное кольцо |
| 9 |
РЕЗЬБОВЫЙ ПИН(87869) резьбовой штифт |
| 10 |
ШЕСТИГРАННЫЙ ВИНТ(92644) винт с шестигранной головкой |
| 11 |
ПОРШЕНЬ(54827) |
| 12 |
ПОКРЫТИЕ GP-НАСОСА(601592) |
| 13 |
ПОРШНЕВОЕ КОЛЬЦО(149909) |
| 14 |
КОЛЬЦО ПЕЧАТИ(72280) уплотнительное кольцо |
| 15 |
TURCON GLYD RING(93622) |
| 16 |
О-КОЛЬЦО(68080) уплотнительное кольцо |
| 17 |
ПОЗИЦИОННЫЙ ПОРШЕНЬ(87047) |
| 18 |
ПРУЖИННЫЙ ВАЛ(87420) |
| 19 |
ВИНТ С ГОЛОВКОЙ(92493) |
| 20 |
ВИНТ С ГОЛОВКОЙ(92488) |
| 21 |
ДВОЙНОЙ ПЕРЕКЛЮЧАТЕЛЬ ПИН(55126) штифт |
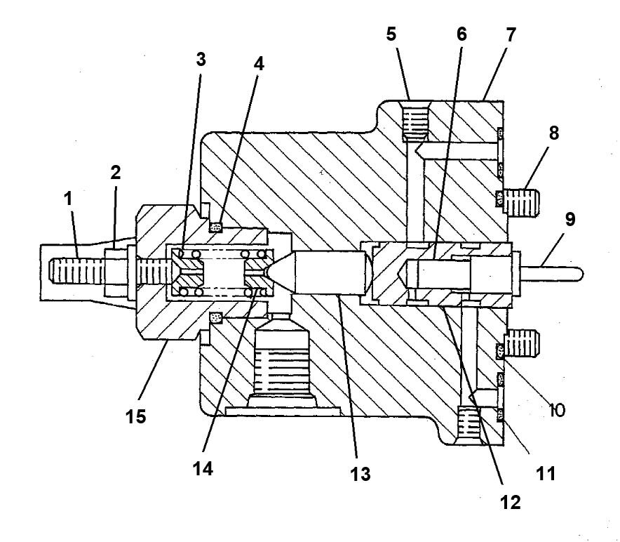
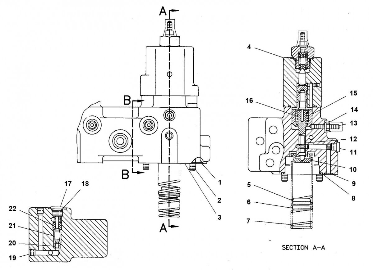
| 1 |
О-КОЛЬЦО(73192) |
| 2 |
ВИНТ С ГОЛОВКОЙ(74374) |
| 3 |
КОНТРОЛЬНЫЙ ДОМ(89663) |
| 4 |
УПРАВЛЕНИЕ GP-НАСОСОМ |
| 5 |
ВЕСНА ДАВЛЕНИЯ(86301) |
| 6 |
ПРУЖИННЫЙ ВАЛ(87413) |
| 7 |
ВЕСНА ДАВЛЕНИЯ(86302) |
| 8 |
О-КОЛЬЦО(82018) |
| 9 |
О-КОЛЬЦО(74889) |
| 10 |
ПРУЖИННЫЙ ВАЛ(87361) |
| 11 |
БЛОКИРОВКА ВИНТА(37514) |
| 12 |
УПРАВЛЕНИЕ ПОРШНЕМ(88030) |
| 13 |
БЛОКИРОВКА ВИНТА(35365) |
| 14 |
ОСТАВЛЕНИЕ КОЛЬЦА(31103) стопорное кольцо |
| 15 |
ВЕСЕННИЙ КУСТ(86778) гильза |
| 16 |
ВЕСНА ДАВЛЕНИЯ(86403) пружина давления |
| 17 |
БЛОКИРОВКА ВИНТА(93948) стопорной винт |
| 19 |
ДВОЙНОЙ ПЕРЕКЛЮЧАТЕЛЬ ПИН(55126) |
| 20 |
БУШ(75473) втулка |
| 21 |
КЛАПАН КЛУБ(81850) тарельчатый клапан |
| 22 |
КЛАПАННЫЙ ВХОД(81851) |
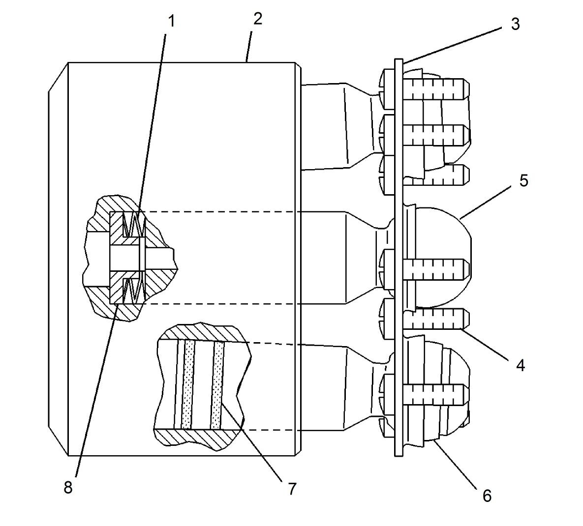
| 1 |
РЕЗЬБОВЫЙ ПИН(34097) |
| 2 |
ГАЙКА ЗАМКА(31003) |
| 3 |
ВЕСНА ДАВЛЕНИЯ(86212) |
| 4 | О-КОЛЬЦО(77848) |
| 5 |
ДВОЙНОЙ ПЕРЕКЛЮЧАТЕЛЬ ПИН(91510) |
| 6 |
УПРАВЛЕНИЕ ПОРШНЕМ(87989) |
| 7 |
КОНТРОЛЬНЫЙ ДОМ(88540) |
| 8 |
ВИНТ С ГОЛОВКОЙ(92547) |
| 9 |
ШТЫРЬ(84127) |
| 10 |
О-КОЛЬЦО(93139) |
| 11 |
О-КОЛЬЦО(74889) |
| 12 |
УПРАВЛЕНИЕ БУШ(87647) |
| 13 | ПОЗИЦИОННЫЙ ПОРШЕНЬ(87002) |
| 14 |
ПРУЖИННЫЙ ВАЛ(87375) |
| 15 |
БЛОКИРОВКА ВИНТА(89934) |
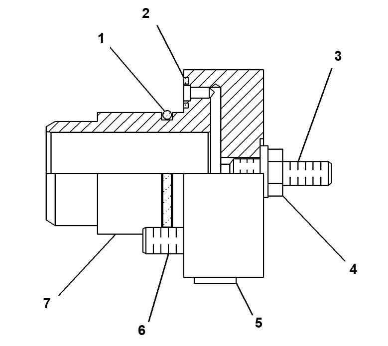
| 1 |
О-КОЛЬЦО(93174) |
| 2 |
О-КОЛЬЦО(73192) |
| 3 |
SETSCREW 55520.1630(254747) |
| 4 |
ГАЙКА ЗАМКА(31006) |
| 5 |
БЛОКИРОВКА ВИНТА(37508) |
| 6 |
ВИНТ С ГОЛОВКОЙ(92486) |
| 7 |
РУКОВОДСТВО ПОКРЫТИЯ(256496) |
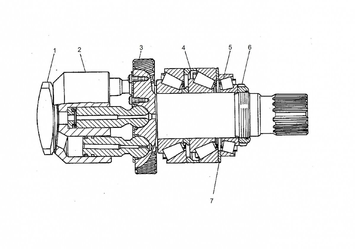
| 1 | КОРПУС НАСОСА(147359) |
| 3 |
МУФТА РУКАВА(184251) |
| 4 |
ПОДШИПНИК КАЧЕНИЯ(71530) |
| 5 | МЕХАНИЗМ(71685) |
| 6 |
КЛЮЧ ВАЛА(68926) |
| 7 | ПОДШИПНИК КАЧЕНИЯ(71529) |
| 8 |
БЛОКИРОВКА ВИНТА(30656) |
| 9 |
ВРАЩАЮЩИЙСЯ GP-НАСОС |
| 10 |
БЛОКИРОВКА ВИНТА(37514) |
| 11 |
ВРАЩАЮЩИЙСЯ GP-НАСОС |
| 12 |
УПЛОТНЕНИЕ ВАЛА(65660) |
| 13 |
ОБЛОЖКА(88708) |
| 14 |
ОСТАВЛЕНИЕ КОЛЬЦА(30626) |
| 15 |
О-КОЛЬЦО(81908) |
| 1 |
КОНТРОЛЬНАЯ ЛИНЗА(31916) |
| 2 |
ВРАЩАЮЩИЙСЯ GP-НАСОС |
| 3 |
ШЕСТЕРНЯ(71567) |
| 4 |
ПОДШИПНИК КОНТАКТНО-РОЛИКОВОГО ПОДШИПНИКА(62267) |
| 5 |
КОНИЧЕСКИЙ РОЛИКОВЫЙ ПОДШИПНИК(62266) |
| 6 |
КОЛЬЦЕВОЙ ОРЕХ(31094) |
| 7 |
SHIM(62265) |
| 8 |
SHIM(81979) |
| 9 |
SHIM(81978) |
| 10 |
SHIM(81977) |
| 11 |
SHIM(81976) |
| 1 |
ЧАШКА ВЕСНЫ(35303) |
| 2 | БОЧКА(33779 |
| 3 |
RETAINERPLATE(49138) |
| 4 |
ВИНТ (COUNTERSUNK)(30998) |
| 5 |
ПИН-КОД ЦЕНТРА(36059) |
| 6 |
ПОРШЕНЬ С ПОРШНЕВЫМИ КОЛЬЦАМИ |
| 7 |
ПОРШНЕВОЕ КОЛЬЦО(39856) |
| 8 |
ПРУЖИННЫЙ ВАЛ(32358) |
| 9 |
ПРУЖИННЫЙ ВАЛ(67472) |
| 10 |
ПРУЖИННЫЙ ВАЛ(87278) |
| 11 |
ПРУЖИННЫЙ ВАЛ(87279) |
| 12 |
ПРУЖИННЫЙ ВАЛ(87280) |
| 13 | ПРУЖИННЫЙ ВАЛ(71737) |
| 14 |
ПРУЖИННЫЙ ВАЛ(87281) |
| 2 |
ПОРШНЕВОЕ КОЛЬЦО(39856) |
| 1 |
КОНТРОЛЬ ОБЪЕКТИВА RH(31918) |
| 2 |
ВРАЩАЮЩИЙСЯ GP-НАСОС |
| 3 |
ШЕСТЕРНЯ(80072) |
| 4 |
ПОДШИПНИК КОНТАКТНО-РОЛИКОВОГО ПОДШИПНИКА(62267) |
| 5 |
КОНИЧЕСКИЙ РОЛИКОВЫЙ ПОДШИПНИК(62266) |
| 6 |
КОЛЬЦЕВОЙ ОРЕХ(31094) |
| 7 |
SHIM(62265) |
| 8 |
SHIM(81979) |
| 9 |
SHIM(+81978) |
| 10 |
SHIM(81 977) |
| 11 |
SHIM(81976) |
| 1 |
ЧАШКА ВЕСНЫ(35303) |
| 2 |
БОЧКА(33779) |
| 3 |
RETAINERPLATE(49138) |
| 4 |
ВИНТ (COUNTERSUNK)(30998) |
| 5 |
ПИН-КОД ЦЕНТРА(36059) |
| 6 |
ПОРШЕНЬ С ПОРШНЕВЫМИ КОЛЬЦАМИ |
| 7 |
ПОРШНЕВОЕ КОЛЬЦО(39856) |
| 8 |
ПРУЖИННЫЙ ВАЛ(32358) |
| 9 |
ПРУЖИННЫЙ ВАЛ(67472) |
| 10 |
ПРУЖИННЫЙ ВАЛ(87278) |
| 11 |
ПРУЖИННЫЙ ВАЛ(87279) |
| 12 |
ПРУЖИННЫЙ ВАЛ(87280) |
| 13 | ПРУЖИННЫЙ ВАЛ(71737) |
| 14 |
ПРУЖИННЫЙ ВАЛ(87281) |
| 2 |
ПОРШНЕВОЕ КОЛЬЦО(39856) |
| Виды услуг | |
|---|---|
| Виды оборудования |
Отзывы
Так же рекомендуем
Гидромотор 210.12.00 (шлицевой вал, реверс) аксиально-поршневой
В наличии
Гидронасос 310.12.03 (шлицевой вал, правое вращение) аксиально-поршневой
В наличии














































