Гидравлический насос Caterpillar M320 128-4326
Цена по запросу
Гидравлический насос Caterpillar 330C 311-9541
Цена по запросу
Вы отложили “Гидромотор 210.12.00 (шлицевой вал, реверс) аксиально-поршневой” в свою корзину. Просмотр корзины
Гидравлический насос Caterpillar M320 137-5022
Артикул:
b1adccb82334
Скидки
При покупке от 100000 руб скидка 5 %
Код_купона_5
Цена по запросу
12
Люди смотрят этот продукт сейчас!
Способы оплаты:
Описание
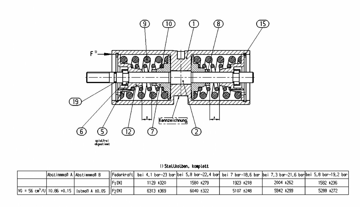
| 1 |
BARREL GP-PUMP (600105) |
| 2 |
КЛАПАН УПРАВЛЕНИЯ GP-НАСОСОМ (600106) |
| 3 | ГОЛОВНОЙ GP-НАСОС (АДАПТЕР) |
| 4 |
НАСОС GP-GEAR (ЗАРЯД) (600108) |
| 5 |
КЛАПАН УПРАВЛЕНИЯ GP-НАСОСОМ (600109) |
| 6 |
КОРПУС (96193) |
| 7 |
СОВМЕСТНЫЙ ПИН (185530) |
| 8 |
ЭКСЦЕНТРИЧЕСКИЙ ВИНТ (80939) |
| 9 |
БЛОКИРОВКА ВИНТА (235079) |
| 11 |
БЛОКИРОВКА ВИНТА (93948) |
| 12 |
БЛОКИРОВКА ВИНТА (93975) |
| 13 |
БЛОКИРОВКА ВИНТА (30656) |
| 14 |
БЛОКИРОВКА ВИНТА (30648) |
| 15 |
О-КОЛЬЦО (82510) |
| 16 |
БЛОКИРОВКА ВИНТА (30650) |
| 17 |
ЗАЖИМНЫЙ ПИН (73408) |
| 18 |
БЛОКИРОВКА ВИНТА (37514) |
| 19 |
БЛОКИРОВКА ВИНТА (93580) |
| 20 |
ЗАМОК ГАЙКИ (31042) |
| 21 |
БЛОКИРОВКА (90579) |
| 98 |
КОМПЛЕКТ УПЛОТНЕНИЙ AA4VG56DWD1 / 32R-NZCX & (254531) |
Детали
| Виды услуг | |
|---|---|
| Виды оборудования |
Отзывы
Так же рекомендуем
Гидромотор 210.12.00 (шлицевой вал, реверс) аксиально-поршневой
Оценка 0 из 5
В наличии
Цена по запросу
Гидронасос 310.12.03 (шлицевой вал, правое вращение) аксиально-поршневой
Оценка 0 из 5
В наличии
Цена по запросу














































